
鏈式輸送機主要是以鏈條作為牽引構件,可以水平或傾斜輸送粉狀、粒狀、小塊狀物料,大漢鏈式輸送機輸送量高達600立方/時,單機輸送長度可達60米,大漢鏈式輸送機可根據輸送物料設計.
全國統一銷售熱線
免費獲取報價

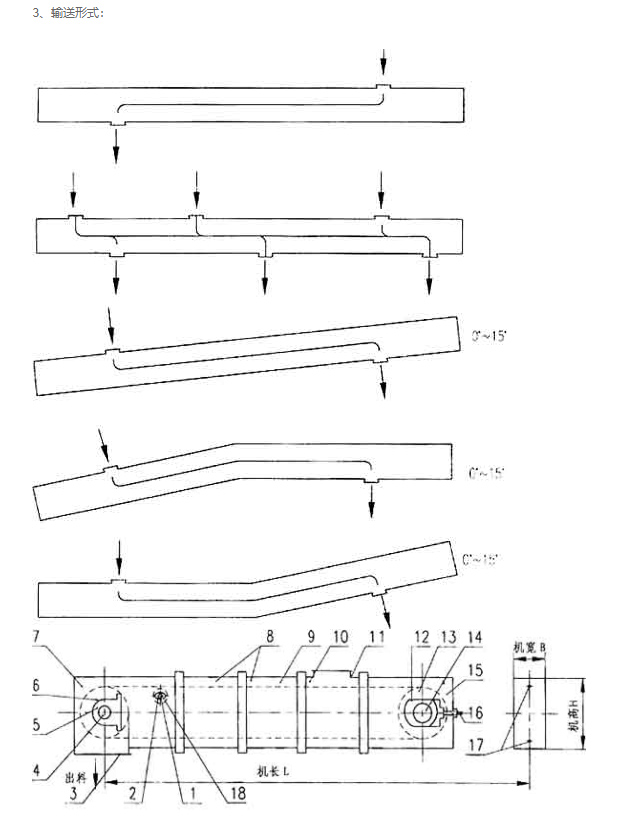
鏈式輸送機可以水平或傾斜(≤15°)輸送粉狀、顆粒狀及小塊狀物料,其輸送帶可以根據輸送物料要求采用橡膠或塑料兩種材質,使用工作環境在-15℃~40℃,當輸送酸堿性或油類物料是,需采用特殊設計的輸送帶。
鏈式輸送機主要用于糧食加工、建材、化工、冶金、交通、電力、港九等運輸行業,可以用于輸送粉狀、粒狀、小塊狀物料,如水泥、石灰石粉、煤粉、粉煤灰、焦炭等物料。

1、輸送量大,輸送機理允許在小容量空間內輸送大量物料,輸送能力達15~600m3/h,輸送長度可達60米。
2、輸送能耗低,借助物料的內摩擦力,變推動物料為拉動物料,使其與螺旋輸送機相比節電40%~60%。
3、密封,全密封的機殼可降低粉塵污染,環境衛生,運行可靠。
4、使用壽命長,用合金材料經熱處理加工而成的輸送鏈,鏈上的滾子壽命(根據不同物料)能使用1~3年。
5、工藝布置靈活,可高架、地面或地坑布置,可水平或爬坡(不大于15度)安裝,也可同機水平加爬坡安裝,也可多點進出料。

鏈式輸送機主要由驅動裝置、頭節、中間街、尾節、輸送量等部分組成,驅動裝置可分為左裝和右裝。



由于物料具有內摩擦力和側壓力等特性,輸送鏈的運動使機槽內的物料之內部壓力和顆粒間的內摩擦力增加,當料層之間的內摩擦力大于物料與槽壁間的外摩擦力時,物料就隨著輸送鏈一起象水一樣地向前流動,料層高度與機槽寬度的比值滿足條件時,可形成穩定的物料流。





Copyright ? 2008-2019螺旋輸送機廠家-新鄉市大漢振動機械有限公司 All Rights Reserved 版權所有
網站備案號:豫ICP備09002479號-47

